Don’t settle for anything less than the best. Our knowledgeable engineers are available to assist you in designing and producing high-quality brass goods, ensuring a reliable electrical system.
Download Brochure
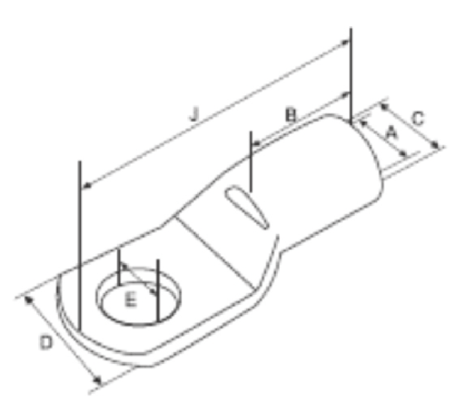
Copper Crimping Terminals With Inspection Hole (Heavy Duty)


